Описание
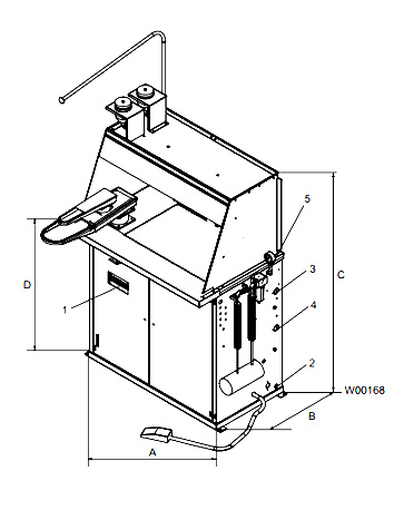
Пятновыводная кабина Electrolux FSU4 является превосходным решением для прачечных промышленного типа и химчисток. Благодаря компактным размерам и продуманному дизайну, функциональность и эргономичность этой модели отвечают всем требованиям для получения идеально чистых изделий после чистки. Для удобства эксплуатации в помещениях с недостаточным светом предусмотрено встроенное освещение. Высокая эффективность кабины Electrolux FSU4 обеспечивается работой двух пистолетов для выведения пятен, а также щеткой для механического воздействия.
Комплектация и основные характеристики пятновыводной кабины Electrolux FSU4: напряжение 220/380 вольт, упаковка – картон, паллета,1060х530х1500 мм.
Модель Electrolux FSU4 рекомендуется для оснащения прачечных в гостинице, на предприятии, в больнице, химчисток, предприятий аквачистки, мини-прачечных, коммерческих и индустриальных прачечных.
Особенности и преимущества:
- Многофункциональная кабина для выведения пятен
- Конструкция кабины из нержавеющей стали
- Экологический фильтр (активный уголь) сокращает потери чистящей химии
- Компактный дизайн
- Встроенное освещение рабочей зоны
- Емкость для химии 5 литров из нержавеющей стали с двумя рабочими приспособлениями (пистолет + щетка)
- Пистолет для холодного выведения пятен с емкостью и подвеской
- Пистолет для сушки воздухом
- Рабочая группа с поворотными формами
- Встроенный вентилятор вакуума с постоянным или управляемым педалью функционированием
- Дверцы спереди для удобного обслуживания
- Подключение внешней подачи сжатого воздуха
Основные опции:
- Паровоздушный пистолет (вместо стандартного пистолета сушки воздухом). Внешнее подключение сжатого воздуха и пара
- Паровой пистолет в комплекте с встроенным бойлером 3.3 кВт/5 литров и насос (вместо стандартного пистолета сушки). Для подключения внешней подачи сжатого воздуха
- Вторая дополнительная емкость для химии с рабочим пистолетом и щеткой
- Второй дополнительный пистолет для холодного выведения пятен с емкостью и подвеской





+7 (499) 302-37-62